Leptir ventil s užljebljenom ručkom je male težine, ima relativno veliku brzinu prebacivanja i malu radnu udaljenost. Ima početne i završne riječi na ljestvici, koje mogu lako prepoznati situaciju prebacivanja.
Leptir ventil s užljebljenom ručkom je male težine, ima relativno veliku brzinu prebacivanja i malu radnu udaljenost. Ima početne i završne riječi na ljestvici, koje mogu lako prepoznati situaciju prebacivanja.
| Materijal tijela | Nodularni lijev |
| Model | D81X-16Q |
| Specifikacija | DN50-200 |
| Nazivni tlak | 1,0/1,6/2,5Mpa |
| Radna temperatura | 0-80°C |
| Primjenjivi mediji | vodu |
| Standardi dizajna | GB/24924-2016 |
Pregled proizvoda
Ovaj ventil je gumeni (NBR) zabrtvljeni leptir ventil, koji se naširoko koristi u sustavima cjevovoda za vodoopskrbu i odvodnju u elektroenergetskom sektoru, hidraulici, metalurgiji, kemijskoj industriji, urbanoj gradnji i drugim industrijama kao uređaj za otvaranje i zatvaranje ili regulaciju protoka medija. Leptir ventil s žljebovima (stezaljka) je nova vrsta priključnog ventila dizajniranog i proizvedenog uvođenjem sličnih naprednih proizvoda iz Sjedinjenih Država i Njemačke.
Značajke
Postavlja se brzo, jednostavno i sigurno, nije ograničen mjestom ugradnje, pogodan je za održavanje cjevovoda i ventila, ima vibracijsku i zvučnu izolaciju te prevladava odstupanja uzrokovana koaksijalnim spajanjem cjevovoda unutar određenog raspona kutova. Rješava prednosti toplinskog širenja i skupljanja uzrokovane temperaturnim razlikama.
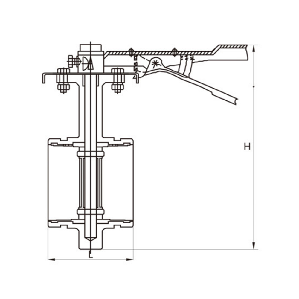
Parametri proizvoda
| D81X-16Q | DN | 50 | 65 | 80 | 100 | 125 | 150 | ||
| L | 80 | 80 | 80 | 102 | 110 | 110 | |||
| H | 180 | 195 | 215 | 260 | 285 | 315 | |||
| Vanjski krug | 60 | 76 | 89 | 108 | 114 | 140 | 159 | 165 | |
O Changshuiju
Changshui Technology Group Co., Ltd.is a valve integrating R&D, manufacturing, sales and service The manufacturer is currently one of the main suppliers of general-purpose valves in China. The main products are: gate valves, globe valves, butterfly valves, ball valves, check valves, regulating valves, pressure reducing valves, diaphragm valves, plug valves, plunger valves, drains Valves, hydraulic control valves, etc. Visokokvalitetni proizvodi hvaljeni su i cijenjeni od strane korisnika u raznim industrijama, a naširoko se koriste u građevinarstvu, grijanju, vodoopskrbi, naftnoj, kemijskoj, elektroenergetskoj i drugim industrijama! Svrha tvrtke je doprinos društvu visokokvalitetnim proizvodima. 'Naš cilj je zadovoljstvo korisnika'. Naša politika kvalitete je: "Zadovoljiti potrebe i očekivanja korisnika za kvalitetom proizvoda i iskorak naprijed. Prvoklasna razina upravljanja kvalitetom, proizvodnja prvoklasnih proizvoda, stvaranje prvoklasnih usluga, "CSHUValve Industry ima Tvrtka je voljna raditi s novim i starim prijateljima, i kolegama u društvu, te korisnicima u zemlji i inozemstvu da se ponovno udruže, i Floor, stvori novu slavu!
Uvod u komponente leptir ventila Leptir ventil je svestran i široko korišten tip ventila u raznim industrijama, poznat po svom kompaktnom dizajn...
READ MOREUobičajeni problemi sa zasunom Zasuni su bitne komponente u raznim industrijskim i stambenim sustavima, osiguravajući pouzdan način kontrole pro...
READ MORERazumijevanje povratnih ventila Nepovratni ventil je mehanički uređaj koji omogućuje protok tekućine ili plina samo u jednom smjeru. Njegova pri...
READ MORE1. Pregled nodularnog lijeva Lijevano željezo od nodularnog lijeva, također poznato kao nodularno lijevano željezo ili sferoidno grafitno željez...
READ MORE1. Razumijevanje ventila i sjedišta Ventili i sjedišta bitne su komponente u kontroli protoka tekućina ili plinova u cjevovodima, motorima i str...
READ MORE